SKU:

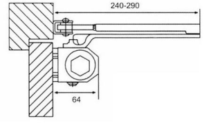
DC-1303/1303D

COMPASS Door Closer
Enquiry
Loading...

Description

C