Description
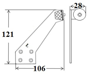
Door Frame Stopper (Left /Right)
Finishing: Stainless Steel
Meas:3mm(T)
Door Frame Stopper (Left /Right)
Finishing: Stainless Steel
Meas:3mm(T)
© 2026 Yap Sun Hardware Manufacturing Pte Ltd. All Rights Reserved. Website by Creative eWorld Pte Ltd.